SFV-802S- Vật liệu xây dựng (VLXD) hoàn thiện thiết bị vệ sinh sen vòi bếp nóng lạnh INAX
Thông tin kỹ thuật sản phẩm sen vòi bếp nóng lạnh INAX SFV-802S
SFV-802S- Vật liệu xây dựng (VLXD) hoàn thiện thiết bị vệ sinh sen vòi bếp nóng lạnh INAX
- Chất liệu chủ yếu bằng đồng thau (chỉ số chì (Pb) ≤ 0.25%) được mạ 3 lớp Crom/Niken sáng bóng, giữ cho vòi rửa luôn bền đẹp theo thời gian, đảm bảo chất lượng bên trong đảm bảo không bị ô nhiễm kim loại nặng
- Chú ý : Sản phẩm dễ dàng vệ sinh bằng khăn bông một cách dễ dàng nên không cần vệ sinh sản phẩm bằng chất tẩy rửa có tính axit mạnh dễ bị hao mòn mà trầy xước sản phẩm.
- Nhãn hiệu hàng hóa: INAX
- Xuất xứ hàng hóa: VIET NAM
- Chứng nhận chất lượng: Tiêu chuẩn quốc tế về quản lý chất lượng ISO-9001 & Tiêu chuẩn quốc tế về quản lý môi trường ISO-14001.
- Áp lực nước cấp 0.07÷0.75 MPa êm dịu
- Thiết kế vòi cong lõm giúp nước chảy không bị tràn, dễ lắp đặt và tạo không gian cho các loại bồn chậu bếp.
- Tạo nên sự đồng bộ và sang trọng với nhiều tiện ích mang lại sự hài lòng và thỏa mãn nhất cho người sử dụng.
- Sản xuất trên dây chuyền công nghệ hiện đại của Nhật Bản
- Sen vòi có chế độ chỉnh nhiệt độ nóng lạnh của nước nên sẽ rất tiện ích cho những người nội trợ tùy ý chỉnh nhiệt độ nước. Bạn sẽ không phải bị cóng tay vào lúc sáng sớm khi chuẩn bị bữa sáng đầy dinh dưỡng cho gia đình mình nữa.
Sen vòi bếp nóng lạnh INAX SFV-802S làm tăng thêm thẩm mỹ
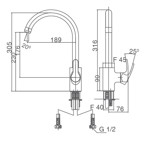
Bản vẽ kỹ thuật hướng dẫn lắp đặt sen vòi bếp nóng lạnh INAX SFV-802S
Hãy liên hệ với chúng tôi để được tư vấn và hỗ trợ về các sản phẩm thiết bị vệ sinh chính hãng INAX và nhận chế độ bảo hành nhanh chóng từ nhà sản xuất ngay tại đây nhé.
Bản vẽ kỹ thuật hướng dẫn lắp đặt sen vòi bếp nóng lạnh INAX SFV-802S
Hutraco nhà phân phối VLXD công trình và dân dụng
GỌI NGAY: 0938 009 005

CÔNG TY TNHH TM DV TƯ VẤN XÂY DỰNG VÀ DU LỊCH HUỲNH TRẦN (HUTRACO)
Địa chỉ: 662/45 Sư Vạn Hạnh, Phường 12, Quận 10, TP. HCM
Website: www.vlxd.info | www.denphilps.vn | www.bongdenphilips.vn | bongdenphilips.net
Email: cskh@hutraco.vn
Điện thoại: 0938 009 005




Xem thêm